TOYOTA TERCEL EL31L-NGKBSA / ELECTRICAL / HEADLAMP

Toyota Land Cruiser genuine parts

Toyota - LEXUS genuine parts

HEADLAMP

(8808- )BASE

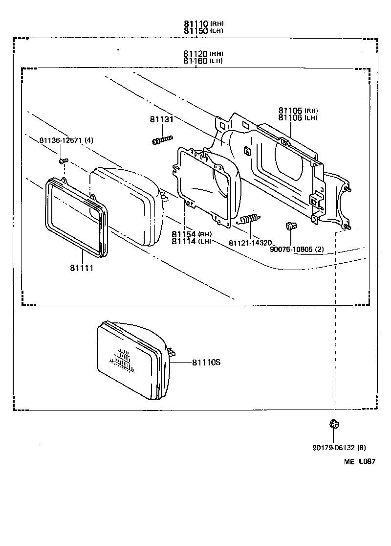
 TERCEL |  HEADLAMP 81105 - HOUSING SUB-ASSY, HEADLAMP, RH 81106 - HOUSING SUB-ASSY, HEADLAMP, LH 81110 - HEADLAMP ASSY, RH 81110S - SEALED BEAM UNIT, NO.1 81111 - RING, SEALED BEAM RETAINING 81114 - RING, SEALED BEAM MOUNTING, NO.2 RH 81120 - HEADLAMP SUB-ASSY, RH  ** Std Part 81131 - SCREW, HEADLAMP ADJUSTING  ** Std Part 81150 - HEADLAMP ASSY, LH 81154 - RING, SEALED BEAM MOUNTING, NO.2 LH 81160 - HEADLAMP SUB-ASSY, LH  ** Std Part  ** Std Part

Register

Nick (login)
Password
Full name
eMail
Phone
Country

Login

Nick (login)
Password