TOYOTA CURREN ST207-DCPGK / POWERTRAIN-CHASSIS / REAR SPRING SHOCK ABSORBER

Toyota Land Cruiser genuine parts

Toyota - LEXUS genuine parts

REAR SPRING SHOCK ABSORBER

(9402- )ST207

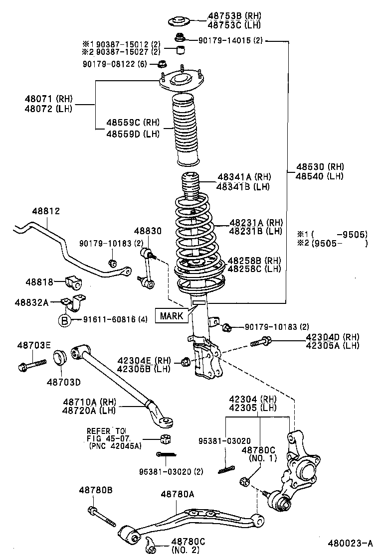
 CURREN |  REAR SPRING SHOCK ABSORBER 42304 - CARRIER SUB-ASSY, REAR AXLE, RH 42304D - BOLT (FOR REAR AXLE CARRIER RH) 42304E - NUT (FOR REAR AXLE CARRIER RH) 42305 - CARRIER SUB-ASSY, REAR AXLE, LH 42305A - BOLT (FOR REAR AXLE CARRIER LH) 42305B - NUT (FOR REAR AXLE CARRIER LH) ** Refer Fig 48071 - SUPPORT SUB-ASSY, REAR SUSPENSION, RH 48072 - SUPPORT SUB-ASSY, REAR SUSPENSION, LH 48231A - SPRING, COIL, REAR RH 48231B - SPRING, COIL, REAR LH 48258B - INSULATOR, REAR COIL SPRING, LOWER RH 48258C - INSULATOR, REAR COIL SPRING, LOWER LH 48341A - BUMPER, REAR SPRING, NO.1 RH 48341B - BUMPER, REAR SPRING, NO.1 LH 48530 - ABSORBER ASSY, SHOCK, REAR RH 48540 - ABSORBER ASSY, SHOCK, REAR LH 48559C - COVER, REAR SHOCK ABSOBER DUST, RH NO.1 48559D - COVER, REAR SHOCK ABSOBER DUST, LH NO.1 48703D - WASHER(FOR REAR SUSPENSION ARM) 48703E - BOLT(FOR REAR SUSPENSION ARM) 48710A - ARM ASSY, REAR SUSPENSION, NO.1 RH 48720A - ARM ASSY, REAR SUSPENSION, NO.1 LH 48753B - COVER, REAR SUSPENSION SUPOPORT, NO.1 RH 48753C - COVER, REAR SUSPENSION SUPOPORT, NO.1 LH 48780A - ROD ASSY, STRUT, REAR 48780B - BOLT(FOR STRUT ROD) 48780C - NUT(FOR STRUT ROD) 48780C - NUT(FOR STRUT ROD) 48812 - BAR, STABILIZER, REAR 48818 - BUSH, STABILIZER, REAR 48830 - LINK ASSY, REAR STABILIZER 48832A - BRACKET, REAR STABILIZER BAR, NO.1  ** Std Part  ** Std Part  ** Std Part  ** Std Part  ** Std Part  ** Std Part  ** Std Part  ** Std Part  ** Std Part

Register

Nick (login)
Password
Full name
eMail
Phone
Country

Login

Nick (login)
Password