08/1991-08/2000
08/1989-08/1993
08/1991-08/1998
08/1991-07/1999
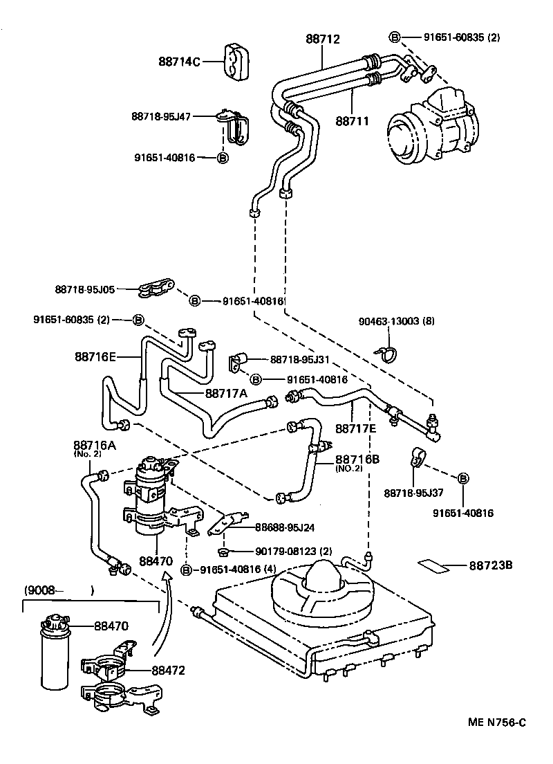
FRONT PIPING---SINGLE ILLUST NO. 2 OF 5(8908-9308)RZH102,112..LHD