TOYOTA SERA EXY10-ACMGH / ELECTRICAL / HEATING AIR CONDITIONING COOLER PIPING

Toyota Land Cruiser genuine parts

Toyota - LEXUS genuine parts

HEATING AIR CONDITIONING COOLER PIPING

ILLUST NO. 2 OF 2(9312- )

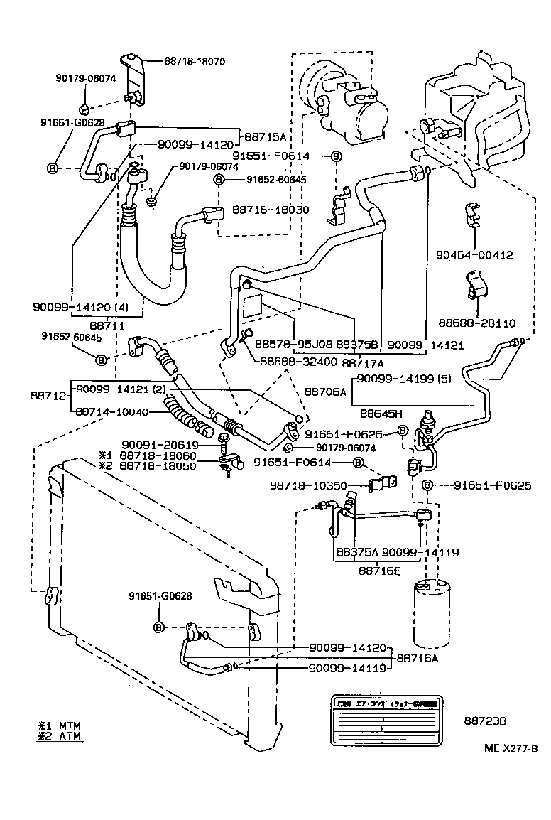
 SERA |  HEATING AIR CONDITIONING COOLER PIPING 88375A - CAP, SERVICE VALVE (FOR COOLER PIPE) 88375B - CAP, SERVICE VALVE, NO.1  ** Std Part 88645H - SWITCH, PRESSURE NO.1  ** Std Part  ** Std Part 88706A - TUBE SUB-ASSY, LIQUID, A 88711 - HOSE, COOLER REFRIGERANT DISCHARGE, NO.1 88712 - HOSE, COOLER REFRIGERANT SUCTION, NO.1  ** Std Part 88715A - PIPE, COOLER REFRIGERANT DISCHARGE, A 88716A - PIPE, COOLER REFRIGERANT LIQUID, A 88716E - PIPE, COOLER REFRIGERANT LIQUID, E 88717A - PIPE, COOLER REFRIGERANT SUCTION, A  ** Std Part  ** Std Part  ** Std Part  ** Std Part  ** Std Part 88723B - LABEL, COOLER SERVICE CAUTION  ** Std Part  ** Std Part  ** Std Part  ** Std Part  ** Std Part  ** Std Part  ** Std Part  ** Std Part  ** Std Part  ** Std Part  ** Std Part  ** Std Part  ** Std Part  ** Std Part  ** Std Part  ** Std Part  ** Std Part  ** Std Part  ** Std Part  ** Std Part  ** Std Part

Register

Nick (login)
Password
Full name
eMail
Phone
Country

Login

Nick (login)
Password