TOYOTA EQ EV KPJ10-CGDSS / POWERTRAIN-CHASSIS / BRAKE TUBE CLAMP

Toyota Land Cruiser genuine parts

Toyota - LEXUS genuine parts

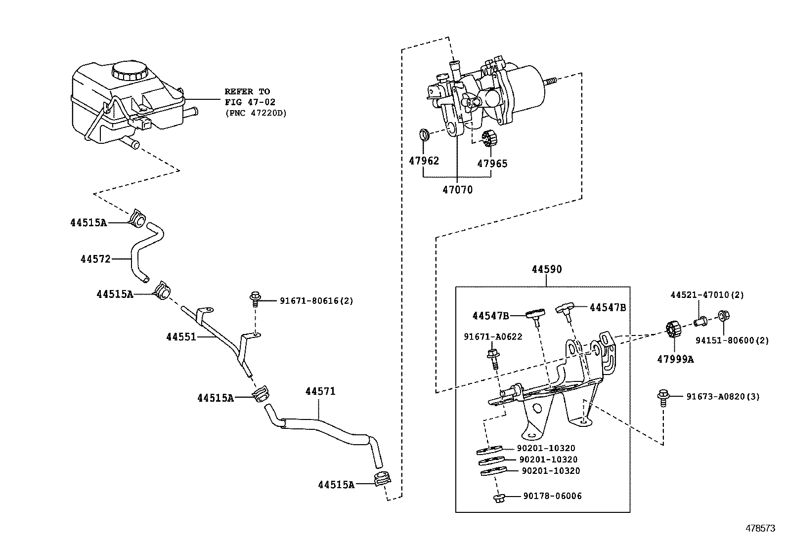
BRAKE TUBE CLAMP

ILLUST NO. 2 OF 2(1209- )

 EQ EV |  BRAKE TUBE CLAMP 44515A - CLIP(FOR BRAKE ACTUATOR HOSE) 44515A - CLIP(FOR BRAKE ACTUATOR HOSE) 44515A - CLIP(FOR BRAKE ACTUATOR HOSE) 44515A - CLIP(FOR BRAKE ACTUATOR HOSE)  ** Std Part 44547B - CUSHION, BRAKE ACTUATOR BRACKET 44547B - CUSHION, BRAKE ACTUATOR BRACKET 44551 - TUBE, BRAKE ACTUATOR, NO.1 44571 - HOSE, BRAKE ACTUATOR 44572 - HOSE, BRAKE ACTUATOR, NO.2 44590 - BRACKET ASSY, BRAKE ACTUATOR ** Refer Fig 47070 - PUMP ASSY, BRAKE BOOSTER 47962 - COLLAR, BRAKE BOOSTER PUMP 47965 - BUSH, BRAKE BOOSTER PUMP 47999A - BUSH(FOR BRAKE TRACTION ACTUATOR BRACKET)  ** Std Part  ** Std Part  ** Std Part  ** Std Part  ** Std Part  ** Std Part  ** Std Part  ** Std Part

Register

Nick (login)
Password
Full name
eMail
Phone
Country

Login

Nick (login)
Password